Installation 6 capteurs sous vide différents - r45v

Parlez de vos expériences et donnez vos résultats concrets.

Modérateurs : ramses, Balajol, monteric, ametpierre, j2c, françois34, andrebayle

Avatar du membre
m_you49
Maitre Solaire
Maitre Solaire
Messages : 3635
Enregistré le : sam. déc. 31, 2005 12:36 pm
Localisation : Beaupréau-en-Mauges - 49

Message par m_you49 »

Salut Gege.
je me demande si avec" tempo" finalement et les contraintes, si tu es gagnant
Dans l'exemple de calcul de r45v, c'est quand même 267 €/an d'économies. Ca en fait des kgs de patates !
D'ou l'avantage de l'accumulation de nuit dans des planchers, même s'il y a quelques surchauffes les jours de plein soleil. On accumule alors dans la réserve et on utilise en décalé.
J'ai un "vieux tempo" (EJP) contraignant parfois, mais on s'y fait. Ca n'est plus proposé par EDF. J'ai aussi entendu dire que pour faire comme la concurrence, bientôt pour les nouveaux abonnements il n'y aura plus que 2 tarifs: base et heures creuses. A vérifier.
La dépense en énergie reste la même, mais en EJP ou en Tempo, la facture est plus légère avec pour moi, un Kwh à 0,054 € HT en heure dite "normale" d'après EDF au lieu de 0,4624 en heure dite "pleine". S'il y a plein soleil, il n'y a que les circulateurs qui tournent en heure pleine. C'est un moindre mal. Après un calcul empirique TTC + part de l'abonnement et j'en passe, on tourne autour d'un prix de 0.070 €/Kwh en heure normale et un prix moyen à l'année, bêtement calculé en divisant la facture par le nb de Kwh on obtient dans mon cas 0,09976 autant dire 0,1 €/Kwh.
@ +
Mil'd
M.You - 49

gegef6fsk

Message par gegef6fsk »

ok bonjour m-you.....michel ,
j'ai également ejp ...on est plein pot dedans il en reste 7 jours!pour la fin du mois

mais ce que je voulais dire ne sachant pas si des tempos rouges existe en été ?????car il parle de piscine ...a moins de la chauffer en hiver...pourquoi pas.
vu les inconvénients , des fois .....on paye bien des trucs chers et inutiles !!alors? mais dans son cas c'est quand meme une "petite somme."
c'est tout pour le moment comme disaient les shadoks!

gérard

Avatar du membre
r45v
Expert Solaire
Expert Solaire
Messages : 701
Enregistré le : ven. avr. 07, 2006 22:17 pm
Localisation : Orléans (45)

Message par r45v »

Bonsoir à tous,

pour Bo39 ,
l'adresse est TBS France Sarl 61 route des Vallées 37510 Ballan-Miré
Tél 0247542222

La V3V est à 65,90 HT et l'électrovane à 57,20 HT il faut compter 8,5€ de frais de port.

Pour m_you49 j'ai eu une heureuse surprise quand on a déposer la DT pour l'installation solaire de mon père la réponse Positive est intervenu en moins de 15 jours sur la commune d'Orléans. 8)
J'ai touvé cela plutôt très bien par rapport à mon expérience ou j'ai "attendu" trois mois pour recevoir l'autorisation en recommander hors délai en plus. :twisted: Ils ne savent même pas compter je pense qu'ils ont tout simplement attendu le dernier jour pour l'envoyer :evil:

Pour JéJé, effectivement mon Tempo est un peu historique car quand je suis passé sur la pac je ne savais pas trop si à l'étage par temps très froid la pac suffirait le résultat et bien oui, même si je continue de me les geler dans la cuisine vers les 15 à 17 °C. Il faut que j'attende de refaire le plancher chauffant de la cuisine :? De plus j'ai bénéficie du même abonnement pour 12 15 et 18 kVa Cela me permet de ne pas avoir de mauvaise surprise désagréable et de voir si je peu descendre quand je serait dans la configuration final après un an de recule. Cependant je suis sur un tableau excel la comparaisont de ce que je pairais sur les trois tarifs voir le fichier ci dessous. pour le moment je suis bénéficiaire avec ce tarif mais il n'est pas certains que dans ma solution final que je reste dans cette configuration. Je suis ce point de toute manière car il est important. Donc pour le moment les jours rouges c'est le solaire et ma vieille chaudière fioul.
Autre point important c'est la piscine couverte et non découverte en effet j'avais ma vielle grange en bardage bois qui avait sa vielle toiture qui était a refaire. Cela me génait de refaire tout cela pour mettre deux voitures alors j'avais ce rève depuis 5 ans de cette petite piscine chauffé( je suis pas dans le sud malheureusement) sauf les 22 jours rouges avec les solutions les plus économique possible donc le solaire et la pac sur nappe.
Donc depuis 5 ans petit a petit j'ai fait 100m² de pc, puis la pac sur nappe puis le solaire, puis la piscine et maintenant je restaure ma grange avec un double bardage bois avec 20 cm de laine de roche haute densité et on se fait notre première chambre au rez de chaussé pour nos vieux jours c'est pas du luxe avec mes problème de genoux.
Mon projet doit se finir fin juin.

c'est pour cela que j'ai besoin de vos lumière pour voir s'il n'y a pas un loup quelques part.
J'en ai trouvé un ce matin en cas de complément par le solaire de mon ballon tampon le retour ce fait par la pac ce qui ne doit pas le top il faut que je trouve une meilleur solution.

Je sais que cela resemble a une usine à gaz mais si vous avez des avis je suis preneur :wink:
Fichiers joints
Copie de BleuDomElec.XLS
(259 Kio) Téléchargé 239 fois
Cordialement RV45 :lol:

Avatar du membre
kroutchef
Expert Solaire
Expert Solaire
Messages : 686
Enregistré le : dim. déc. 25, 2005 17:44 pm
Localisation : ALBI (81)
Contact :

Message par kroutchef »

Info glanée et confirmée sur le stand Chinois SUNPOWER Changhzou, au le salon des ER de Madrid, les KAmax sont bien des SUNPOWER...
No more comment on prices :oops: from nusyB...
Fallais pas le dire :!: :wink: ... trop tard... :lol:
Amitiés ensoleillées ...
Alain R. (Albi)
"Ne quid nimis, sol lucet omnibus !"
http://alainraynal.wordpress.com (site catastrophe aprés migration de windowslive > description install)

Avatar du membre
m_you49
Maitre Solaire
Maitre Solaire
Messages : 3635
Enregistré le : sam. déc. 31, 2005 12:36 pm
Localisation : Beaupréau-en-Mauges - 49

Message par m_you49 »

Salut RV
Pour m_you49. J'ai eu une heureuse surprise quand on a déposé la DT pour l'installation solaire de mon père la réponse positive est intervenue en moins de 15 jours sur la commune d'Orléans. Cool
J'ai touvé cela plutôt très bien par rapport à mon expérience ou j'ai "attendu" trois mois pour recevoir l'autorisation en recommandé hors délai en plus. Ils ne savent même pas compter. Je pense qu'ils ont tout simplement attendu le dernier jour pour l'envoyer

Mes craintes étaient liées au retour dans notre circonscription locale DDE, d'un agent qui supervise les demandes et "grâce" auquel en 1980 j'ai attendu 10 mois pour avoir le permis de construire. Nous avions eu des "mots" et s'il est rancunier, je crains le pire! Depuis, je suis maire de ma commune, et c'est moi qui signe après avis de la dite DDE, mais ça ne met pas à l'abri des "coups fourrés". Gardons espoir. Tout n'est pas forcément noir en ce bas monde. Je vous tiendrai au courant.
La vie est belle, etc ...
@ +
Mil'd
M.You - 49

Avatar du membre
r45v
Expert Solaire
Expert Solaire
Messages : 701
Enregistré le : ven. avr. 07, 2006 22:17 pm
Localisation : Orléans (45)

Message par r45v »

Bonjour à tous,

Je vais vendre mes deux capteurs Kamax 100 de 24 tubes 47mm par le soleil ils sont vendu 679ttc hors frais de port.

je cède le capteur à 300€ frais de port compris. En effet je voudrais mettre un capteur à ailettes de 15 tubes de 70mm qui fait 150cm de large qui pourrait passer entre mes deux velux et en plus je n'aurais pas a déplacer ma ventilation de ma salle de bain sur la toiture, de plus en période de surchauffe je pourrais tourné les ailettes. J'ai encore une autre solution c'est de mettre deux capteurs en U horizontalement dos a dos. c'est deux solutions seront plus avantageuse finalement que de mettre mes deux Kamax 100 sous mes deux capteurs actuelle ou j'ai du masquage a certains moment de la journée.

Si cela peux t'intéresser merci de me le dire.

A+ RV45
Cordialement RV45 :lol:

Avatar du membre
r45v
Expert Solaire
Expert Solaire
Messages : 701
Enregistré le : ven. avr. 07, 2006 22:17 pm
Localisation : Orléans (45)

Message par r45v »

Bonjour à tous,

De petites nouvelles de l'installation avec la nouvelle bouteille de mélange pour plusieurs fonctions:
Image

a) chauffer le ballon ECS en cas de soleil insufisant par la pac.
b) chauffer la piscine par la pac en heures creuse.
c) chauffer la piscine par le solaire en cas de surchauffe.

Mais aussi l'utilisation de la boucle de décharge solaire avec la première V3V aussi plusieurs fonctions:
Image
a) le chauffage du ballon tampon pour le chauffage par plancher chauffant et radiateur.
b)chauffage de la piscine hors période de chauffage de la maison
Fichiers joints
boucle de d?charge
boucle de d?charge
boucle de d?charge.JPG (138.61 Kio) Vu 4041 fois
bouteille de m?lange
bouteille de m?lange
bouteillle de m?lange.JPG (411.1 Kio) Vu 4032 fois
Cordialement RV45 :lol:

Avatar du membre
r45v
Expert Solaire
Expert Solaire
Messages : 701
Enregistré le : ven. avr. 07, 2006 22:17 pm
Localisation : Orléans (45)

Message par r45v »

Allez un petit schéma pour mieux comprendre la fonction de ma boucle de décharge :shock:
J'ai fait des efforts j'ai mis de la couleur :P
Image
Fichiers joints
Sch?ma solaire1.JPG
Sch?ma solaire1.JPG (89.25 Kio) Vu 4043 fois
Cordialement RV45 :lol:

Avatar du membre
r45v
Expert Solaire
Expert Solaire
Messages : 701
Enregistré le : ven. avr. 07, 2006 22:17 pm
Localisation : Orléans (45)

Message par r45v »

Bonjour à tous,

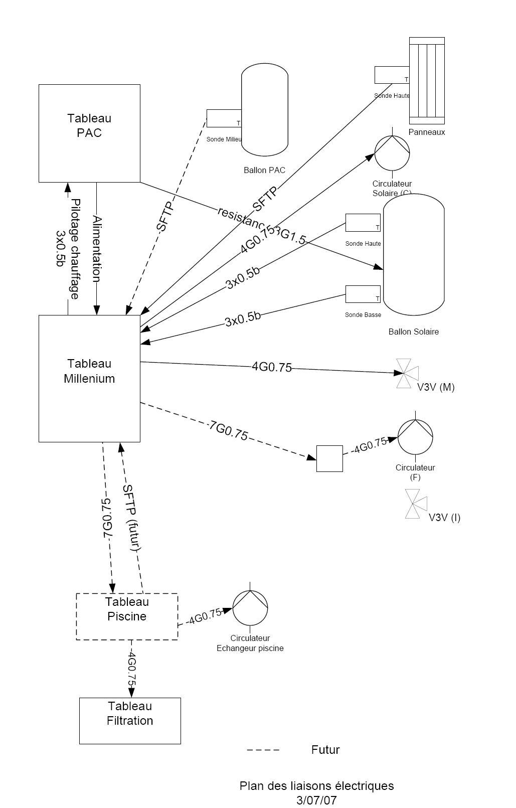
Après l'hydrolique il faut bien prévoir les liaisons électriques pour la régulation millénium.

Image

Il ya plus qu'a...

Ps je suis bon pour rajouter un clapet anti retour ou une lyre anti-thermosiphon entre la bouteille de mélange et le serpentin haut du ballon solaire ECS.
Fichiers joints
PLAN DES LIAISONS.JPG
PLAN DES LIAISONS.JPG (100.11 Kio) Vu 4046 fois
Cordialement RV45 :lol:

Avatar du membre
r45v
Expert Solaire
Expert Solaire
Messages : 701
Enregistré le : ven. avr. 07, 2006 22:17 pm
Localisation : Orléans (45)

Message par r45v »

Bonjour à tous,

c'est les vacances et il falait que tout soit terminé avant les grandes chaleurs :shock:
un grand merci à Ptipoil pour son aide pour la partie millénium.

Voici donc la prog
Image

et le schéma
Image

Et quelques nouvelles photos de l'installation et explication pour mon père pour la surveillance de l'installation quand je suis en balade: je n'ai pas de web seveur :oops: mais que fait André :wink:
Image
Shot with K810i

Image
Shot with K810i

Image
Shot with K800i
Image
Shot with E5900
Cordialement RV45 :lol:

Avatar du membre
r45v
Expert Solaire
Expert Solaire
Messages : 701
Enregistré le : ven. avr. 07, 2006 22:17 pm
Localisation : Orléans (45)

Message par r45v »

Bonsoir,

Voilà la nouvelle commande groupée solaire est arrivé aujourd'hui :lol:
Et mon tout nouveau capteur avec. 8)

Au contrôle, j'ai reçu mon super collecteur je ne m'attendais pas a ce qu'ils aient fait autant de projet sur le design et les coloris.


ImageImageImageImageImageImage

ImageImageImage

Le montage est toujours aussi facile voir même plus. les tubes sont parfait ils rentrent bien dans le collecteur l'étanchéité est bien meilleur l'isolation du collecteur en alu de couleur bronze est en progres aussi.

Et encore merci à André qui a déjà ma nouvelle sonde Crouzet. Quelle performance André il a même le matériel en stock maintenant :wink:
Cordialement RV45 :lol:

Avatar du membre
lelectron
Stagiaire Solaire
Stagiaire Solaire
Messages : 139
Enregistré le : sam. sept. 23, 2006 15:56 pm
Localisation : MONTESCOT 66200

Message par lelectron »

Salut hervé
Je vois de beau panneaux en 70, je vois pas de réflecteur vu le D des tubes pas besoin.
Sa va chauffer fort cette hivers.

Heu :oops: je me suis baigné à la mer cette après midi l' eau été très bonne
et ce matin en espagne pas près de perdre le bronzage

Faudrais peut être que je mette une clim cette hivers :lol: :lol:

Avatar du membre
r45v
Expert Solaire
Expert Solaire
Messages : 701
Enregistré le : ven. avr. 07, 2006 22:17 pm
Localisation : Orléans (45)

Message par r45v »

[quote="lelectron"]Salut hervé
Je vois de beau panneaux en 70, je vois pas de réflecteur vu le D des tubes pas besoin.
Sa va chauffer fort cette hivers.

Heu :oops: je me suis baigné à la mer cette après midi l' eau été très bonne
et ce matin en espagne pas près de perdre le bronzage

Faudrais peut être que je mette une clim cette hivers :lol: :lol:[/quote]

Bonsoir Lelectron,

Oui tu as raison, pourquoi pas de réflecteur :roll: j'aurai bien aimer, cela ne doit pas faire de mal :? .
Pour le reste j'en reviens pas encore que l'aspect qualitatif du capteur.

Et bien moi aussi je me baigne et même à un bon 28°C. 8) je suis même bon pour mettre un quatième capteur. :idea: .

J'en profite aussi pour vous présenter la présentation que m'a demander Pierre.
j'ai pris un peu de temps pour la finaliser, mais je l'ai faite.
Un résumé de l'aventure :wink:
Fichiers joints
pr?sentation solaire-2.doc
(584 Kio) Téléchargé 328 fois
Cordialement RV45 :lol:

Avatar du membre
lelectron
Stagiaire Solaire
Stagiaire Solaire
Messages : 139
Enregistré le : sam. sept. 23, 2006 15:56 pm
Localisation : MONTESCOT 66200

Message par lelectron »

bonjour Hervé,

je pense que vu le gain sur tes tubes le gain des réflecteurs et moins important donc il économise.
Je vois que tu profite bien de la piscine :P

Pour moi vivement que j'ai mon ballon pour continuer mon installation, j'attends les nouvelles :oops:
bonne journée.
@+

Avatar du membre
r45v
Expert Solaire
Expert Solaire
Messages : 701
Enregistré le : ven. avr. 07, 2006 22:17 pm
Localisation : Orléans (45)

Message par r45v »

Bonsoir,

Alors ce ballon, il est arrivé :?:

Parce que moi j'ai de quoi le chauffer ton ballon, regarde :P

2+3=5 capteurs 8) 8) 8) 8) 8)

Bon, voici la deuxième phase de mon installation solaire. (une phase dure un an :roll: )Image

Les Photos:
ImageImageImageImageImageImageImage

Un grand merci aux participants 6 de cette journée ainsi que pour la visite du grand maître chanbon qui nous a fait l'énorme honeur de son passage (avec son dépannage d'un tube cassé pendant le transport :evil:)

le lendemain le chalumeau régne en maître :P

ImageImageImageImageImage

Enfin le soleil est revenu, plus qu'un dernier coup de torchon.
journée froide et ensoleillé çà chauffe très fort et très vite.

Encore le cablage de la sonde a faire pour connaitre réellement la puissance des nouveaux capteurs


Il ne me reste plus qu'à couper les arbres du voisin pour augmenter encore le temps d'ensoleillement. :roll:
Cordialement RV45 :lol:

Répondre

Retourner vers « Vos installations »